车友星联盟车友星联盟
车评天下
车评天下
我的位置: 首页 > 车评天下
现代起亚申请结构化电池组专利 可让车辆容纳更大容量电池提升续航
发布时间:2024-09-13 11:15:58
  |  
阅读量:299
  |  
作者:
车友星联盟

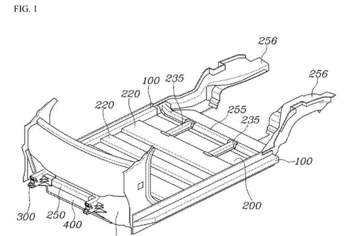
车友星联盟讯 电动汽车的电池不仅重量大、价格昂贵,而且内部含有多种化学物质,体积也相当庞大。为了确保电池能够储存足够的能量,以支持理想的续航里程,电动汽车的电池通常设计得较大,这使得在安装电池时容易占据汽车座舱或行李厢的空间。据外媒报道,为了解决这一难题,现代和起亚正在申请一项新型结构化电池组件的专利。

现代和起亚结构化电池组专利(图片来源:USPTO)

2024年11月14日,美国专利商标局(United States Patent and Trademark Office,USPTO)公布了一份由这两家汽车制造商于2023年10月26日提交的专利申请。专利文件阐述,目前,车辆的车身与电池组件都分别生产,随后在组装过程中进行整合。不过,现有的设计导致车身面板占据过多的重叠空间,从而未能有效利用车辆内部有限的空间,导致只能安装少量的电芯,从而限制了电池组的续航能力。换言之,若能够更高效地利用车内空间,则可以在车内安装更多电池,从而提高电动汽车的续航里程。